| Fra den gang da dampmaskinen var vanlig til fremdrift av skip. |
| Fra dampmaskinens barndom (og hvordan så man på den i 1924): |
| |
| Utdrag fra boken ”Skibsbygning og Sjøfart” av Georg Brochmann. (Utgitt på forlaget H.Aschehoug & Co (W.Nygaard) Kristiania 1924) |
| |
| Skibsmaskinens og staalskibets tidsalder. |
| |
| Der er et sterkt og tydelig skille mellem skibsfarten i vore dage og den i ”gamle” dage, og ingen er i tvil om hvor ”de gamle dage” hørte op og ”vore dage» begyndte: Seilskibe og træskuter hører de gamle dage til, det maskindrevne staalskib er vore dages. Det er ørkesløst at diskutere hvilken av disse to ting, skibsmaskinen eller staalet som byggemateriale for skibe, har været mest revolutionerende for skibsfarten, for det er umulig at tenke sig en skibsfart som kunde løse sin opgave i vore dage uten begge disse ting. Hver for sig betød de umaadelige fremskridt i skibsteknikken, samlet har de omdannet den helt og holdent. Rigtignok bygges der den dag i dag træskuter med seil som eneste fremdriftsmiddel, træskibe med moderne skibsmaskiner og seilskibe av staal, men det er av aldeles forsvindende betydning. Et slaaende eksempel paa hvorledes træet er ute av stand til at konkurrere fik vi da den amerikanske stat bygget store trædampskibe i massevis under krigen — det var en eneste fiasko. Og det er helt overflødig at nævne skibsmaskinens overlegenhet over seilene. Jeg bruker uttrykkelig uttrykket skibsmaskiner og ikke dampmaskinen, for revolutionen bestod netop deri at man fandt en kraftmaskin som egnet sig til at drive frem skibe med, og selv om dampmaskinen her har spillet den største rolle og fremdeles er den viktigste kraftmaskin til dette bruk, ser vi nu at den begynder at avløses av andre. |
| |
| Det var kanske det forsiktigste at bruke et lignende uttryk naar det gjælder byggematerialet og si: da træet blev avløst av andre byggematerialer. Men staalet har paa en ganske anden maate end dampmaskinen forstaat at bevare sit eneherredømme like fra det fremkom som materiale til skibsbruk. Et krigstidsfenomen som betongen har vist sig ute av stand til at konkurrere under normale forhold. Derimot maa jeg i uttrykket staal ogsaa indbefatte jern, som var dets forløper, og som det helt har avløst. Tanker om at anvende skovlhjul eller skruepropel til at drive frem skibe med er gammel, og at det lykkedes at omsætte menneskekraften paa denne maate er da intet at forbause sig over. Men i og for sig betød ikke dette noget fremskridt, aarene er baade det enkleste og mest effektive middel til at drive et skib frem ved menneskers kraft. I specielle tilfælder kan det jo hænde at skovlhjul eller propel kan ha sine fordele. Paa direktørkontoret paa Carl Johans Værn henger der saaledes et utkast til en monitor utført av ingen ringere end John Ericson, hvor drivmaskineriet bestaar av 16 gaster, der ved en. trækstang faar en propel til at gaa rundt. Vitsen var selvfølgelig her at gasterne kunde anbringes under dæk og at propeller var beskyttet mot fiendens kuler, hvad ikke aarene vilde være, men det er utvilsomt at baaten kunde være rodd betydelig fortere av 16 mand med aarer. Men i det øieblik man hadde en kraftmaskin som kunde stilles op ombord og som kunde ha det stof hvorfra den hentet sin energi med sig ombord, da var det av største betydning at ha indretninger som skovlhjul og propel for at kunde overføre kraftmaskinens arbeide til fremdrift for skibet. En skotsk bankier, Patrick Miller, lot i 1787 bygge et meget eiendommelig fartøi. Det bestod av to skrog og mellem dem var der et skovlhjul som oprindelig var tænkt drevet med haandkraft, og hvormed der ogsaa blev gjort en del forsøk. Paa denne tid var det Watts forbedrede dampmaskin fremkom og gikk sin seiersgang i industrien i England. Miller overlot det da til en skotsk ingeniør ved navn Symmington at installere en av de nye vidundermaskiner i dobbeltskibet, og det gik saapas bra at der blev konstruert et nyt skovlskib for dampdrift med hvilket man i 1789 utførte gjentagne prøveturer paa Clyden. Maskinen var paa 12 hestekræfter og baaten skal ha opnaadd 5 knobs fart, men skovlhjulet hadde en kjedelig tilbøielighet til at gaa istykker, saa Miller opgav det tilslut. Men dette skib turde allikevel være den første dampbaat som virkelig gik, og man skulde da hædre Symmington med tilnavnet dampskibets opfinder, men sikkert er det ikke. Ideen laa i luften dengang, og ifølge andre kilder gav en mand ved navn Jamas Rumsey en offentlig opvisning paa Potomacfloden i Virginia av sin opfindelse: et dampdrevet fartøi, allerede i 1785, altsaa 4 aar før. Og en anden amerikaner John Fitch skulde i 1786 ha drevet et skib ved hjelp av dampmaskine paa Delawarefloden, saa det er ikke let at avgjøre hvem der skal tilskrives æren. Men Symmington skal ialfald ha den hæder at han ikke gav sig fordi om hans beskytter Miller gav op. Han fik Lord Dundas, direktøren for Clydekanalen, til at interessere sig for saken, og bygget efter dennes opdrag en bugserbaat, der fik navn efter direktørens datter, «CHARLOTTE DUNDAS». Baaten var en success og kan kanske med størst ret kaldes verdens første brukbare dampbaat. Den vakte umaadelig opsikt da den kunde slæpe to prammer paa kanalen og allikevel opnaa en fart av 3,25 knob. Maskinen var en dobbeltvirkende Watts, som direkte drev et skovlhjul, nedfældt i baatens agterskib. |
| |
|  |
| «CHARLOTTE DUNDAS» kom dog snart av bruk, og grunden høres merkelig ut for os nutidsmennesker: Strandeierne paa begge sider av kanalen protesterte mot dampskibet fordi det satte bølger som ødela kanalens sider. Om strandeierne fremdeles tror de kan stoppe utviklingen med sin protest turde dog være tvilsomt! «CHARLOTTE DUNDAS» fremkom i 1802, men allerede i 1790 drev det selskap, som hadde interessert sig for John Fitchs' opfindelse, en passagerdampbaat paa Delaware i tre eller fire maaneder, men baaten lønnet sig ikke, hvorfor den blev lagt op for aldrig mere at bli tat i bruk. At den ikke lønnet sig kom vel av at der klæbet store mangler ved den, saa at den allikevel ikke kan optræ som «CHARLOTTE DUNDAS» konkurrent som den første brukbare dampbaat. Det fortjener dog at nevnes at baaten skal ha drevet det til en fart av omkring 8 knob, mens «CHARLOTTE DUNDAS» alene opnaadde bare 6 knob. I løpet av de ti aar som fulgte blev der eksperimentert meget ivrig med skibsmaskiner, men der fremkom intet av værdi. Det største og mest avgjørende gjennembrud i dampskibets første historie skedde i 1807, idet Robert Fulton det aar satte sin baat «CLERMONT» paa vandet. Skibet var 42,6 m. langt, 4,5 m. bredt og maalte 2 m. i rummet. Maskinen var en Boulton & Watt av den saakalte firkanttype. Der var bare en dampcylinder, som maalte 0,66 m. i diameter og slaget var paa 1 meter. Kjelen var av Watts sedvanlige, og den blev omgit av solid murverk. Skovlhjulene var 5 m. i diameter og var 1,3 m. brede. Murverket og den tunge maskin gjorde at skibet fik liten bæreevne til andet, trods sin størrelse lastet det ikke mere end 160 ton. «CLERMONT» startet paa sin første prøvetur fra New. York den 7de august 1807, en dato som vel fortjener at mindes i menneskehetens historie, for trods sin store egenvekt og sin efter vore fordringer ringe fart (5 knob). var «CLERMONT» et. |
|  |
| paalidelig fartøi som holdt sin rute og blev uhyre populær, og med rette kan kaldes det første avgjort heldige dampskib, det som gjorde at kapitalen nu sterkt begyndte at interessere sig for dampmaskinen som fremdriftsmiddel. |
| |
| Amerikanerne peker med berettiget stolthet paa at Charles Brown bygget 6 meget vellykkede dampbaater for Fulton, før man i Europa kunde komme med et fartøi som nogenlunde kunde komme op mot disse. Det var dampbaaten «COMET» bygget av John Wood for Henry Bell i 1812. Dette fartøi var dog ikke mere end tredjeparten av «CLERMONT» i lengde. Det førte 20 passagerer. Nu gaar fremskridtene slag i slag og vi maa nøie os med at notere hovedpunktene i den rivende utvikling. Det første skib som foretok en reise paa det aapne hav var «PHENIX», som var sat paa vandet paa Hudson bare nogen faa dage efter Fultons første vellykkede tur. I aaret 1809 satte dette fartøi til hays og kom frem til Philadelphia. Efterpaa trafikerte den regelmæssig rute mellem denne by og New York. I Amerika begyndte nu en meget forceret damp, baatbygning, og allerede i 1812 var der 50 amerikansk byggede dampdrevne baater i fart paa flodene og i aaret 1831 var der bare paa Mississippi ikke mindre end 300 dampbaater i fart. Denne hurtige utvikling i Amerika er saa meget merkeligere som det var forbundet med ikke faa ubehageligbeter at være passager paa disse første dampbaater. Ret som det var eksploderte kjelen, da der jo ingen kontrol var fra statens eller assurance,- selskapernes side. Til aaret 1831 hadde der indtruffet ikke mindre end 50 kjeleeksplosioner, hvorved 256 mennesker hadde mistet livet og 100 blevet saaret. I «Morgenbladet» for 1824 leses en notis om disse mange ulykker i Amerika. Den ender dog med et hjertesuk over at dampskibsfarten endnu ikke er kommet til Norge. |
| |
| Det næste engelske skib som nu fortjener at nævnes efter «COMET» er «CALEDONIA» som i 1814 blev konstruert av John Robertson, den samme mand som hadde tegnet «COMET»s maskin. Det var det første europæiske dampskib som vaaget sig ut paa det aapne hav. Robert Buchanan forsøkte allerede i 1814 med bevægelige skovler, men teknikken var ikke langt nok fremskredet endnu til at dette fremskridt kunde vise sin fulde nytte, og de faste skovler blev bibeholdt i mange aar fremover. I aaret 1816 kom det første virkelige dampfartøi til Frankrike, idet det engelske dampskib «ELISE»den 22de mars ankret paa Seinen, efter at ha brukt ikke mindre end 9 døgn paa reisen over kanalen, da veiret hadde været stormfuldt. Men den første regelmæssige fart over kanalen til Frankrike var dermed begyndt. Samme aar gik to engelske dampskibe «DEFIANCE» og «LADY OF THE LAKE opover Rhinen og Elben, og ikke længe efter var der etableret en fast passager,- og godstrafik mellem London og Hamburg. I 1817 fik Tyskland sit første damp, skib «WESER»der trofast gik i sin rute mellem Bremen og Brake like til 1838. Men det skulde bli amerikanerne som skulde faa æren av at ha det første dampskib som gik over Atlanterhavet, idet «SAVANNAH» seilte fra Savannah den 26de mai |
| |
|  |
| 1819 og naadde Liverpool den 20de juni samme aar. I 14 av de døgn den hadde været underveis hadde den brukt seilene til at komme frem med, resten av tiden damp. Grunden til at man ikke brukte maskinen hele tiden var at man fryktet for at brændslet kunde slippe op. Skibet var bygget ved Corlears Hook, New York, av Croker & Ficket. Det var paa 380 tons dødvekt og var oprindelig bygget for at seile som paketbaat mellem New York og Liverpool. William Scarborough & Co. kjøpte dette skib og døpte det «SAVANNAH». De lot riggen staa og utstyrte det med dampmaskineri og skovlhjul som var til at folde sammen som en vifte. De kunde ogsaa svinges op og lægges paa dækket naar de ikke var i bruk. Styrehuset var bygget av seilduk som var strukket over et skelet av jernstænger. Efter at være kommet frem til Liverpool besøkte dette skib Kjøbenhavn, Stockholm, Leningrad, Kronstad og Arendal i Norge. Dette er, saavidt forfatteren har kunnet bringe paa det rene, første gang at et dampskib besøkte norsk havn. Fra Arendal gik skibet direkte hjem til Savannah paa 25 dage, hvorav det brukte maskinen i de 19. «SAVANNAH»bragte sine eiere store, tap og endte sine dage med at gaa paa grund ved Long Island. Dens dampcylinder, som verdens største musæer nu vilde kappes om at indlemme i sine samlinger, blev ulykkeligvis hugget op, efter at ha ligget slængt utenfor Allaire Works i mange aar. |
| |
| Så, ---10 år senere: Fra boken MASKINLÆRE av K. Gleditsch (1934) |
| STEMPEL DAMPMASKINER |
| Innledning — Typer. |
| |
| Ved en dampmaskine forståes en maskine, hvori vanndamp bringes til å utføre et arbeide. Derfor er i ordet dampmaskine innbefattet alle maskiner som benytter damp til drivkraft, både stempelmaskiner og de stempelløse maskiner, turbinene. Men alt efter den måte og under de forskjellige former hvorpå dampen utfører sitt arbeide i maskinen, og hvorledes dampens tilstand er når den efterpå forlater maskinen, kan disse inndeles på forskjellig vis. Vi skiller således mellem høitrykksmaskiner og fortettings- eller kondensasjons-maskiner. Høitrykksmaskinen har ikke fått dette navn fordi den benytter damp av særlig høit trykk, men fordi den bare utnytter dampens trykk sålenge dette er høiere enn atmosfærens trykk. Når dampen har gjort sitt arbeide i en sådan maskine, strømmer den nemlig ut i atmosfæren direkte eller indirekte. Fortettingsmaskinen sender derimot ikke dampen ut i luften efterat den har gjort sitt arbeide. I denne maskine utnyttes dampens trykk langt ned under atmosfærens trykk, og efterpå ledes dampen til et eget kar, fortetteren eller kondensatoren, som står i direkte forbindelse med maskinen og holdes avkjølet, så dampen der går over til vann, for-tettes eller kondenseres. Ett kg. damp vil som vann bare opta ca. 1/200 av det rum som den krever i dampform, og derfor opstår der ved en sådan fortetting også et trykkfall. Ved anordningen med fortetter vil man få en betydelig bedre utnyttelse av den varme som er forbrukt til damp-dannelsen, men så koster også et fortetteranlegg mange penger. — |
| |
| Som nevnt kan også dampmaskinene deles i stempel-maskiner og turbiner. Begge disse variasjoner kan igjen være høitrykksmaskiner eller fortettingsmaskiner, men mens i stempelmaskinene dampen må vekselvis |
| |
|  |
| Fig.96 |
| strømme ut og inn av dens cylinder, vil i turbinene dampens strømmeretning alltid være den samme. Den kommer inn gjennem et løp eller en kanal, driver hjulet eller hjulene rundt, og forlater så turbinen gjennem en helt annen kanal enn den hvori gjennem den kom inn, således som antydet i fig. 96. - |
| |
|  |
| Fig. 97 | Fig. 98 | Fig. 99 |
| |
| Med hensyn til dampens strømmeretning vil derfor en turbine alltid kunne kalles en likestrømsmaskine. I stempelmakinene er prinsippet at dampen skal strømme inn i en cylinder hvori der er et bevegelig stempel. Dette skal dampen drive, skyve foran sig fra den ene ende av cylinderen til den andre. Men så skal dampen ut av cylinderen igjen, for at stemplet uhindret skal kunne vandre tilbake, og måten hvorpå dampen da bringes til å slippe ut kan være noget forskjellig. l fig. 97 kommer dampen inn gjennem en kanal a og forlater cylinderen gjennem kanal b ved den andre ende av cylinderen. Her er altså også rent likestrømsprinsipp. I fig. 99 er der derimot bare en kanal, hvorigjennem dampen vekselvis kommer inn til cylinderen og forlater den igjen. Man kunde si at den er en vekselstrømsmaskine. Og i fig. 98 er vist en mellemting mellem disse to. Likestrøm er det forså-vidt som der er to helt adskilte kanaler for inn- og utstrømning, men ved at utstrømningskanalen er lagt |
| |
|  |
| Fig. 100 | Fig. 101 | Fig. 102 |
| |
| like ved siden av innstrømningskanalen kommer dog dampen inne i selve cylinderen til å måtte skifte retning. Denne siste ordning benyttes meget ved dampdrevne hjelpepumper. Hvis dampen bare har anledning til å virke på den ene side av stemplet, sies maskinen å være enkeltvirkende, virker den derimot avvekslende snart på den ene og snart på den andre siden derav, sies maskinen å være dobbeltvirkende. Vil man nu at stemplets frem- og tilbakegående bevegelse inne i cylinderen skal omsettes til en rundgående bevegelse, så må stemplet forbindes til en stempelstang og denne igjen leddes til en veivstang, som så igjen med sin annen ende omslutter en veiv på den aksel som skal dreies rundt. Dette kalles tilsammen for veivbevegelsen. Er maskinen enkelt-virkende, kan stempelstangen sløifes og veivstangen leddes direkte til stemplet. Maskinen kalles da en trunkmaskine eller plungemaskine. Prinsippet er vist i fig. 100. Sådanne maskiner for dampdrift er nu meget sjeldne, idet så godt som alle stempelmaskiner for damp nu bygges dobbeltvirkende, de fleste også efter vekselstrømsprinsippet. Er der to eller flere cylindre som alle får damp direkte fra kjelen til sine stempler, kalles maskinen for en sammenstillet maskine. Hvis derimot dampen utnyttes først i en cy-linder, så i en annen o. s. v., kalles maskinen for en flertrinsmaskine (2-trins, 3-trins, 4-trins, også kallet compound-triple-quadruple-maskine). |
|  |
| Fig. 103 | Fig. 104 | |
| |
| Den første cylinder kalles da for høitrykkscylinderen, de neste for mellemtrykkscylindrer og den siste for lavtrykkscylinderen. Fig. 101 viser en sammenstillet maskine med to cylindrer. Fig. 102 viser en totrinsmaskine. Fig. 103 viser en tretrinsmaskine. Fig. 104 viser en totrinsmaskine hvor cylindrene er anbragt oppå hverandre. Med en sådan opstilling kalles maskinen for en tandemmaskine. |
| |
|  |
| Fig. 105 |
| |
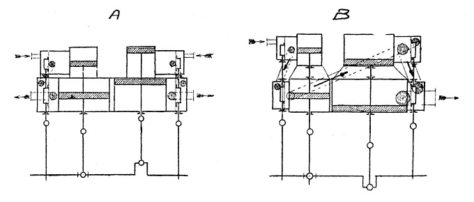
| Fig. 105 viser to tandem-maskiner. A er en dobbelt totrinsmaskine, mens B er en firetrinsmaskine. Se pilene som angir dampens løp. |
| |
|  |
| Fig. 106 |
| |
| Fig. 106 viser en totrinsmaskine i en hjulbåt, hvor man for plassens skyld har måttet legge begge cylindrene på skrå i forhold til akselen. Noget lignende blir av og til gjort ved propellermaskiner for å få cylindrene så lavt ned i skroget som mulig således som vist i fig. 107. |
|  |
| Fig. 107 | Fig. 108 | |
| |
| Fig. 108 viser en annen ordning som ofte benyttes på hjulbåtmaskiner. Der er veivstangen sløifet, og stempelstangen arbeider direkte på veiven. Cylinderen må da være dreibar om store tapper T på midten. Maskinen sies å være en vuggende eller occylerende maskine. Endelig kan vi også skille de forskjellige dampmaskiner i fulltrykksmaskiner og ekspansjonsmaskiner (utvidelsesmaskiner). Ved en fulltrykksmaskine forståes en maskine hvor damp fra kjelen strømmer direkte inn til stemplene gjennem deres hele vandring i cylinderen. I en ekspansjonsmaskine vil derimot frisk kjeledamp bare drive stemplet endel av dets vandring, så blir dampen avstengt, men stemplet fort-setter å gå drevet ved den spennkraft som dampen har i sig på grunn av sitt høie trykk og gradvis vil kunne avgi, ettersom den forfølger stemplet videre. Fulltrykksmaskiner finner vi mellem de enkelte så vel som de sammenstillede maskiner, mens flertrinsmnaskinene nettop er bygget på dette prinsipp med dampens utvidelse — ekspansjon. —. Enten en maskine er en fulltrykks- eller en ekspansjons¬maskine, kan den like godt være en høitrykks- eller en for-tettingsmaskine. |
| |
| Dampmaskinens historie. |
| Der finnes i gamle greske skrifter fra ca. 200 år f. Kr. en beskrivelse av en maskine eller rettere et apparat som blev drevet med damp. Det så ut omtrent som det som er vist i fig. 2, men snudd op ned. En beholder med vann på en lett svingbar vertikal aksel og fra den to bøiede rør stående ut i luften. Når apparatets beholder varmes op, dannes der damp i den, og dampen strømmer ut av de to rør og blåser apparatet rundt. Nogen praktisk anvendelse fikk dette apparat naturligvis ikke og heller ikke nogen av alle de mange forsøk som sikkert blev gjort op gjennem tiden før omkring år 1700. En assistent hos en universitetslærer i Marburg ved navn Papin hadde da konstruert en lukket gryte til å koke kraften ut av kjøttben (en autoklav), og herunder kom han til å konstruere den første sikkerhetsventil for å hindre at trykket blev så stort at det sprengte gryten, men ved å se dampen blåse ut av denne kom han på den tanke at denne damp Dampmaskinens historie. Der finnes i gamle greske skrifter fra ca. 200 år f. Kr. en beskrivelse av en maskine eller rettere et apparat som blev drevet med damp. Det så ut omtrent som det som er vist i fig. 2, men snudd op ned. En beholder med vann på en lett svingbar vertikal aksel og fra den to bøiede rør stående ut i luften. Når apparatets beholder varmes op, dannes der damp i den, og dampen strømmer ut av de to rør og blåser apparatet rundt. Nogen praktisk anvendelse fikk dette apparat naturligvis ikke og heller ikke nogen av alle de mange forsøk som sikkert blev gjort op gjennem tiden før omkring år 1700. En assistent hos en universitetslærer i Marburg ved navn Papin hadde da konstruert en lukket gryte til å koke kraften ut av kjøttben (en autoklav), og herunder kom han til å konstruere den første sikkerhetsventil for å hindre at trykket blev så stort at det sprengte gryten, men ved å se dampen blåse ut av denne kom han på den tanke at denne damp måtte kunne drive noget, og pussig nok tenkte han sig denne |
| | drivkraft først og fremst nyttiggjort til å drive båter. Han fikk også utstyrt sin »gryte« med et stempel og anbragt det i en båt med hjul på, men under hans arbeide med å få en brukbar forbindelse mellem stemplet og hjulakslen, blev altsammen ødelagt for ham av nogen fergemenn som mente at han vilde komme til å ta levebrødet fra dem. Der finnes ingen tro modell bevart av hans gryte, men i prinsippet så den ut som fig. 109. A er en cylinder (gryten), og B er et stempel med stempelstangen C. På bunnen av A var der vann, og så blev der fyret under den. Muligens blev der derunder såpass damptrykk at stemplet blev skjøvet op, men for sikkerhets skyld var der ophengt et lodd i en snor over en skive,og dette trakk stemplet op. Når så stemplet var kommet til topp, blev skåten D slått inn i stangen så den holdt stemplet fast i denne stilling, mens cylinderbunnen blev avkjølet med koldt vann utvendig. Derved opstod der vakum på stemplets underside, og når nu skåten blev slått ut, blev stemplet suget ned, det vil si at det var atmosfærens trykk på stemplets overside som drev det ned. I alle land hvor der var dype gruper, var det allerede på de tider et vanskelig spørsmål å holde disse |
| Fig. 109 |
| gruper lens for vann, og mange forsøk blev gjort på å løse dette spørsmål. Med eller uten kjennskap til Papins forsøk bygget i 1712 to engelskmenn Savery og Newcommen en maskine som så ut som fig. 110. I prinsippet ligner den Papins, men vannet som skal fordampes var ikke lenger i cylinderbunnen, men i en egen støpt beholder, kjelen a, adskilt fra cylinderen ved en kran, og cylinderen avkjøltes ikke med vann utvendig, men ved en innsprøiting, og dette innsprøitede vann blev så efterpå tappet av gjennem en egen kran. |
| |
| |
| Fig. 110 |
| |
| Fra først av måtte der stå en mann og snu på alle disse forskjellige kraner for hver gang stemplet skulde gå op og ned, men senere fant man på å forbinde kranskaftene med stenger til balansen b, så maskinen blev selvregulerende, automatisk. Dette var altså i grunnen den første dampmaskine, men dampens trykk spilte her som hoss Papin ennu så liten rolle at den blev kalt for ildmaskinen. Vår betegnelse på den må nærmest bli en atmosfæremaskine. I denne form formådde dampen å få stemplet til å vandre 15 ganger op og ned pr. minutt. Videre nådde den aldri, og den brukte en masse brensel, men ikke desto mindre blev der bygget en hel del av dem, da det avhjalp et lenge følt savn. |
| På de tider begynte videnskapsmenn for alvor å studere varmen, dens natur og lovene for den, og da en laborant ved universitetet i Glasgow, James Watt, i 1760 fikk en modell av Newcommens maskine å stelle med, beregnet han på grunnlag av fysikeren Black's teorier at denne maskine for hver en gang stemplet gikk op og ned, brukte 4 ganger så meget damp som dens egen cylinder kunde rumme. Han tok sig fore å forbedre den, og det første han gjorde var da å sløife koldvannsinnsprøitingen i cylinderen. Når dampen hadde fyllt cylinderen, satte han den ved en kran i forbindelse med et eget lukket kar, fortetteren, som han holdt avkjølet ved rinnende vann eller ved hjelp av en koldvanns-pumpe. Allerede herved sank kullforbruket til mindre enn halvparten av det oprinnelige. Dernest utstyrte han maskinen med en aksel med veiv og svinghjul. Han gjorde den dobbeltvirkende, så både damp og våkum skiftesvis virket på begge sider av stemplet; han laget svingmasseregulatoren og strupeventilen, fødepumpen og endelig sleiden til å regulere dampens inn- og utstrømning av cylinderen, og dens bevegelse ved en excenterskive anbragt på akselen. Maskinen så efter hans forbedringer ut som vist i fig. 111 og er i hovedsaken uforandret den dag idag. På figuren er kjelen ikke vist, men A er cylinderen, B er stemplet, D regulatoren, E sleiden, H excenterskiven, Hi excenterstangen, mens I er kondensatoren, J luftpumpen, K koldvannsinnsprøitingen, L fødepumpen og V svinghjulet. |
|  |
| Fig. 111 |
| |
| Watt opfant også vannstandsglasset, manometret og indikatoren, og han bør med rette kalles dampmaskinens opfinner. I 1770 gikk han i kompaniskap med en forretningsmann som het Bonlton, og efter mange års vanskeligheter lykkedes det dem å gjøre fremstillingen av dampmaskiner til en lønnende forretning. Efter våre begreper om maskinarbeide var deres dampmaskiner kanskje både mangelfulle og klossede, men man skal huske på at de langt fra hadde hverken de materialer eller de verktøimaskiner til sin rådighet som vi nu har. Det er nettop fremstillingen av dampmaskiner som har skapt alle våre mekaniske verksteder og tvunget jernverkene til å fremstille godt støpejern og stål, og også frem-elsket de moderne verktøimaskiner. Det vanskeligste for Watt var at det ennu varte lenge, før der blev ordentlige plater å få til kjelene, så han i lang tid måtte nøie sig med støpte kjeler og dermed lavt damptrykk. Den første totrinsmaskine blev bygget av englenderen Hornblower i 1789, men den blev ikke praktisk brukbar da damptrykket ennu var for lavt. Tanken blev optatt nogen år senere av tyskeren Wolff med bedre resultat. Av stor betydning for maskinens anvendelse til skibsbruk blev opfinnelsen av overflatefortetteren, konstruert av Cartbright. I den fortettes den brukte damp uten å bli blandet sammen med kjølevannet. |
| |
| Den første tretrinsmaskine blev bygget av Kirck i Glasgow i 1882, og firetrinsmaskinen skriver sig fra ca. 1900. Den første brukbare dampturbine blev bygget av svensken De Laval i 1890. Forsøk på å anvende dampmaskinen til fremdrift av skib blev gjort både i England og Frankrik, men den første som fikk noget brukbart ut av det var amerikaneren Fullton som i 1807 gikk opover Hudsonfloden med sin båt CLERMONT. Den var utstyrt med hjul som blev drevet av en av Boulton & Watts maskiner. I England blev den første dampbåt satt i fart året efter. Den het THE COMET, blev bygget av Henry Bell og gikk i rute mellem Glasgow og Greenock. Det første skib med dampmaskine som hørte hjemme i Norge var CONSTITUTION, som blev innkjøpt av staten i 1828 for å gå i rute Oslo—Vadsø. Det gjorde tre turer pr. år og var hjulbåt. Nogen fart på dampskibsbyggingen blev det dog ikke før propelleren blev konstruert i 1836, samtidig av englenderen Smith og svensken Erikson. I de siste 40—50 år har ellers opfinnelsene på damp-maskinens område innskrenket sig til forbedringer av detaljer og av den slags som nærmest er en følge av bedre materialer og verktøimaskiner. Særlig må her nevnes forbedringer ved sleidene og deres bevegelse samt apparater til en hurtigere og lettvintere gangskifting av maskinen. Dertil kommer så dimensjonene, idet de stadig voksende krav til større skib og større hastigheter også naturligvis har avfødt stadig større og kraftigere maskiner. |
| |
| Verdens største skib er for tiden det franske skib FRANCE. Det er på 67.500 tonn deplasement og skal drives av fire propellere, som hver igjen drives av en elektrisk motor på 40.000 hk. Den elektriske strøm til disse motorer skaffes av turbiner for 27 atmosfærers damptrykk fremstillet i 29 vann-rørskjeler som er oljefyrte. I hvilken grad man i tidens løp har formådd å forbedre dampmaskinens økonomi vil forståes av at Newcommens maskine ved forbrenning av 1 kg kull var istand til å løfte 100 tonn 1 fot høit, mens turbinene på FRANCE er beregnet å skulle bruke 0.4 kg olje pr. akselhesteskraft pr. time, hvilket omregnet vil svare til at der omtrent skulde kunne løftes 2.200 tonn 1 fot op ved forbrenning av 1 kg kull. |
| | | | | | | | | |